關于蘋果可折疊手機的傳言似乎已經存在了很長時間。如今,三星的折疊屏手機都已經進入第五代了,還即將發布最新的Z Fold6和Z Flip6了,而蘋果的折疊屏手機依舊沒看到任何產品。
然而,蘋果似乎很少有興趣成為第一家推出新產品的公司,它更愿意稍后推出產品,但希望做得更好,這也是蘋果在許多產品上的一貫策略。
但考慮到可折疊手機如今已經開始大規模出貨,除了三星外,像華為、谷歌、一加、小米等都帶來了旗下的折疊屏手機,給三星帶來了更大的競爭,而在全球銷量排名靠前的廠商中,只有蘋果沒有一款折疊屏手機,這是難以想象的。因此,有不少人認為,蘋果也將和大家一樣,帶來可折疊iPhone。
指望新的折疊屏iPhone與iPhone 16一起發布應該是不可能了,但有一些明確的跡象表明,蘋果正在開發自己的可折疊手機。如果有的話,它可能會更晚一些,2018年10月的一份報告暗示,蘋果可能會在2024年底或2025年初首先推出一款可折疊iPad進行試水,然后再推出可折疊iPhone。
然而,最近的一個傳言聲稱,三星顯示——這家為iPhone提供了大量屏幕的公司,正在加強現有團隊的力量,以便為可折疊iPhone制造所需的可折疊屏幕。這可能表明,可折疊iPhone可能比預期的要早到來。目前,蘋果似乎還沒有一個“具體的時間表”來發布可折疊設備。這表明相關設備的出現,還有很長的路要走。
話雖如此,2024年2月的一份報告稱,可折疊iPhone在2026年或2027年發布的可能性很大,三星顯示和LG顯示顯然都已經向蘋果發送了屏幕樣品。不過奇怪的是,報道稱,蘋果還沒有首款可折疊設備究竟是iPad還是iPhone。
2月之后的一份報道則顯示,可折疊iPhone計劃在2026年9月發布,這可能意味著它會與iPhone 18一起發布。這份報告還補充說,蘋果已經將Vision Pro團隊的大部分人員調入到了這款手機的開發上,該公司的目標是銷售5000萬部。2026年推出的說法,后來也得到了泄露的蘋果產品路線圖的支持。
最近,我們還聽說可折疊iPhone可能會從2026年底推遲到2027年初,最新的TrendForce報告稱,由于公司對折痕和可靠性的嚴格要求,蘋果不太可能在2027年之前發布可折疊手機。

然而,還有消息源對可折疊iPhone的出現表達了悲觀情緒。有消息稱,由于蘋果找不到它滿意的屏幕,可折疊iPhone的開發已經暫停。所以實際的時間線有些不清楚。并且一些分析師現在認為可折疊iPhone項目可能最終會被取消,所以我們可能根本看不到它。
當然,我們也不知道如果可折疊iPhone真的發布,它的售價會是多少,但考慮到許多可折疊手機的價格遠遠超過1000美元,可以預想蘋果的價格會更高。我們迄今為止看到的唯一價格泄露指出價格為2500美元,所以如果你真的想要的話,建議你現在就開始存錢。
至于名稱,我們聽說它可能被稱為iPhone Flip,這可能是指我們看到的類似三星Galaxy Z Flip的樣子,這些專利暗示了一種翻蓋式折疊模式。不過,實際上,它叫任何名字都有可能。
目前,關于可折疊iPhone的傳言主要分為兩大陣營:一方面是設備將擁有真正的可折疊屏幕,另一方面則表明,新折疊屏將擁有由鉸鏈分隔的兩個獨立屏幕。
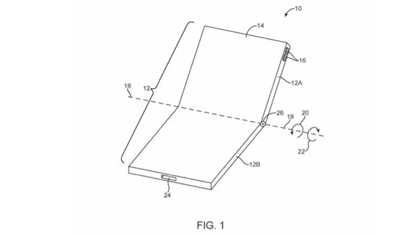
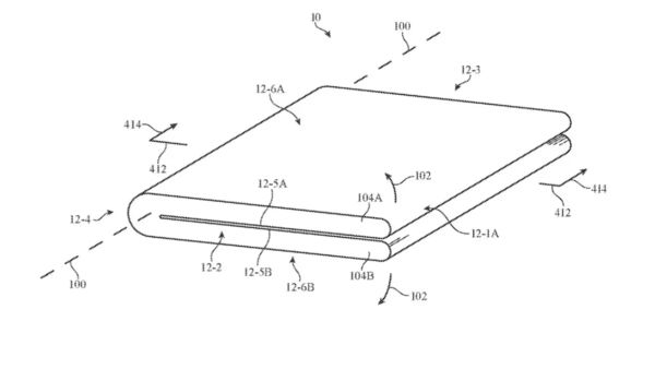
2019年2月的一次專利公布中揭示了幾種設計,有些設計在單個鉸鏈連接的折疊部分內部有一個大顯示屏,而另一種設計則有兩個鉸鏈,用于假設性的三個顯示屏,它們可以像Z字形那樣折疊在一起。

在此處添加圖片標題
其他專利,如2020年3月發現的專利,揭示了蘋果可能正在研發一個由鉸鏈分隔的兩個獨立顯示屏的可折疊設備。雖然專利設計表明,蘋果會盡可能地減少屏幕之間的折痕,但它仍然會比真正的長折疊屏幕更明顯。
此前,曾有爆料者表示,蘋果當時的可折疊iPhone設計有兩個獨立的顯示面板和一個鉸鏈。雖然它只是一個“當前原型”而不是最終設計,但它被描述為擁有類似iPhone 11的圓潤邊緣,與iPhone 12和iPhone 13系列的直角邊緣并不相同。此外,新機的前置攝像頭也沒有凹槽,用于檢測Face ID的傳感器將被安置在外部顯示屏的一個“小額頭”上。
這與Prosser后來的泄露信息相匹配,他暗示iPhone Flip可能會采用翻蓋式設計——類似于2020年的摩托羅拉Razr或三星Galaxy Z Flip。同一消息源還表示,它將以“有趣的顏色”出售,這意味著iPhone Flip上市時,你可以期待一些獨特且大膽的配色出現。
我們還看到了另一個專利中可折疊iPhone可能的外觀圖像,這個專利展示了一個像三星Galaxy Z Fold 2那樣展開成更大設備的手機,可以稱之為iPhone Fold。它有一個較大的屏幕,所以當它折疊關閉時,你可以在一邊看到你的通知。

另一個泄露信息表明,這款折疊iPhone可能會支持Apple Pencil,并且擁有7.3英寸或7.6英寸的顯示屏。實際上,我們最近聽說蘋果的第一款可折疊設備可能有一個大約7-8英寸的屏幕,這很可能意味著它將是一款大折疊屏設備。
我們還從分析師那里聽說,蘋果正在測試E Ink的電子紙顯示屏(EPD)作為可折疊手機的外屏。這將是一個彩色的類似電子閱讀器的屏幕,可以長時間開啟而不會消耗太多電池。
蘋果的可折疊手機還可能在屏幕上方有一個保護層,可以防止裂紋并填補已有的微裂紋,以幫助避免斷裂。蘋果已經為這項技術申請了專利。此外,蘋果的一項專利詳細描述了一個既細又強的鉸鏈,可以用于配備柔性屏的手機上。不過蘋果并未透露更多消息,但它是iPhone Fold或iPhone Flip可能正在研發中的更多證據。
此外,一份報告還表明,蘋果已經有兩款可折疊iPhone設計通過了耐久性測試。這并不意味著這將更快發生,但這是一個好跡象,表明蘋果正走在正確的道路上。

我們最近看到的蘋果專利詳細介紹了配備觸摸感知的固態按鈕,這將允許用戶使用其邊緣而不僅僅是顯示屏來控制可折疊iPhone。蘋果解釋稱,觸摸傳感器將位于由“足夠小以至于肉眼看不見的薄金屬線”組成的“側壁”而不是常規壁內。
除了所有的泄露信息,我們還看到了一個由國內團隊制作的非官方版iPhone Flip。不過該版本渲染圖在制作過程中涉及了很多妥協,但如果蘋果的可折疊設備在設計上類似于三星Galaxy Z Flip系列,那么它可能看起來像是這個的一個更加精致的版本。
文章內容僅供閱讀,不構成投資建議,請謹慎對待。投資者據此操作,風險自擔。
海報生成中...
海藝AI的模型系統在國際市場上廣受好評,目前站內累計模型數超過80萬個,涵蓋寫實、二次元、插畫、設計、攝影、風格化圖像等多類型應用場景,基本覆蓋所有主流創作風格。
IDC今日發布的《全球智能家居清潔機器人設備市場季度跟蹤報告,2025年第二季度》顯示,上半年全球智能家居清潔機器人市場出貨1,2萬臺,同比增長33%,顯示出品類強勁的市場需求。